干掛天然花崗石飾面建筑板材及其不銹鋼配件 第2部分:干掛不銹鋼配件(一)
JC830.2—1998
1 范圍
本標準規定了石材干掛用彎板、托板、定位銷針等不銹鋼配件的產品分類、技術要求、試驗方法、檢驗規則、標志、包裝、運輸與貯存等。
本標準適用于建筑干掛飾面工程施工用彎板、托板、定位銷針等不銹鋼配件。
2 引用標準
下列標準所包含的條文,通過在本標準中引用而構成為本標準的條文。本標準出版時,所示版本均為有效。所有標準都會被修訂,使用本標準的各方應探討使用下列標準最新版本的可能性。
GB/T222—88 鋼的化學分析用試樣法及成品化學成分允許偏差
GB/T223—88 鋼鐵及合金化學分析方法
GB/T228—87 金屬拉伸試驗方法
GB/T232—87 金屬彎曲試驗方法
GB/T1220—84 不銹鋼棒
GB/T2975—82 鋼材力學及工藝性能試驗取樣規定
GB/T3280—84 不銹鋼冷軋鋼板
GB/T4230—84 不銹鋼熱軋鋼帶
GB/T4237—84 不銹鋼熱軋鋼板
GB/T4239—84 不銹鋼冷軋鋼帶
3 定義
本標準采用下列定義。
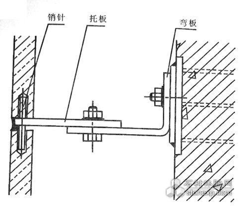
3.1 彎板
連系托板或石材與結構體的不銹鋼結構件(參考圖1)。
3.2 托板
連系彎板與銷針的金屬結構件(參考圖1)。
3.3 銷針
固定花崗石板材的金屬結構件(參考圖1)。

圖1 石材干掛結構示意圖
4 產品分類
4.1 分類
4.1.1 彎板
4.1.1.1 按使用要求分為六種類型:
a)帶托板單孔型(代號為A)
b)帶托板雙孔型(代號為B)
c)不帶托板單孔針孔不可調型(代號為C)
d)不帶托板單孔針孔可調型(代號為D)
e)不帶托板雙孔針孔不可調型(代號為E)
f)不帶托板雙孔針孔可調型(代號為F)
4.1.1.2 產品代號表示方法規定如下:

? 凡注明“石材體驗網”的所有文字、圖片、音視頻、美術設計和程序等作品,版權均屬石材體驗網所有。未經本網授權,不得進行一切形式的下載、轉載或建立鏡像。
? 您若對該稿件內容有任何疑問或質疑,請即與體驗網聯系,本網將迅速給您回應并做處理。
點擊右側【在線咨詢】或至電0769-85540808 處理時間:9:00—17:00
石材體驗網部份作品均是用戶自行上傳分享并擁有版權或使用權,僅供網友學習交流,未經上傳用戶書面授權,請勿作他用。